巫溪府辦發〔2023〕25號
巫溪縣人民政府辦公室
關于印發巫溪縣防汛抗旱應急預案的通知
各鄉鎮人民政府、街道辦事處,縣政府各部門,有關單位:
《巫溪縣防汛抗旱應急預案》已經縣政府同意,現印發給你們,請認真貫徹執行。
巫溪縣人民政府辦公室
2023年4月11日
??
(此件公開發布)
巫溪縣防汛抗旱應急預案
1?總則?5
1.1?編制目的?5
1.2?編制依據?5
1.3?工作原則?5
1.4?適用范圍?6
1.5?災害分級?6
2?組織指揮體系?6
2.1?縣級組織指揮機構?6
2.2?鄉鎮(街道)防汛抗旱機構?7
2.3?其他防汛抗旱機構?7
2.4?現場指揮機構?7
2.5?事件應對指揮機構?7
3?預防預警?8
3.1?風險源識別?8
3.2?信息監測及報送?9
3.3?預防準備?10
3.4?預警分級?11
3.5?預警發布與解除?12
3.6?預警行動?12
3.7?預警發布流程圖?13
4?應急響應?13
4.1?響應分級?13
4.2?先期處置?14
4.3?啟動條件?14
4.4?啟動程序?19
4.5?響應措施?19
4.6響應調整和終止?29
4.7?后期處置?29
4.8?應急響應流程圖?30
5?應急保障?30
5.1?制度保障?30
5.2?通信保障?31
5.3?隊伍保障?31
5.4?物資保障?31
5.5?交通運輸保障?31
5.6?醫療衛生保障?31
5.7?供電、供氣、供水保障?31
5.8?治安保障?32
5.9?經費保障?32
5.10?社會動員保障?32
5.11?技術保障?32
5.12?避難場所保障?32
6?培訓與演練?33
7?附則?33
7.1?預案管理?33
7.2?預案解釋?34
7.3?預案實施?34
1?總則
1.1?編制目的。
有效防范化解水旱災害風險,高效有序做好抗洪搶險、抗旱救災工作,最大限度減少人員傷亡和財產損失。
1.2?編制依據。
依據《中華人民共和國突發事件應對法》《中華人民共和國水法》《中華人民共和國防洪法》《中華人民共和國防汛條例》《中華人民共和國抗旱條例》《國家防汛抗旱應急預案》以及《重慶市突發事件應對條例》《重慶市防汛抗旱條例》《重慶市突發事件總體應急預案》《重慶市突發事件預警信息發布管理辦法》《重慶市突發事件應急預案管理實施辦法》《重慶市防汛抗旱應急預案》《重慶市防汛抗旱應急預案編制大綱(試行)》等法律法規和有關規定,制定本預案。
1.3?工作原則。
堅持以防為主、防抗救相結合,堅持常態減災和非常態救災相統一,從注重災后救助向注重災前預防轉變,從應對單一災種向綜合減災轉變,從減少災害損失向減輕災害風險轉變。
堅持實行各級政府行政首長負責制,統一指揮、分級分部門負責,有關部門實行防汛抗旱崗位責任制和責任追究制。
堅持依法防控、公眾參與、軍民結合、專群結合、平戰結合、協同應對。
堅持因地制宜、城鄉統籌兼顧、突出重點、兼顧一般、局部利益服從全局利益的原則。
1.4?適用范圍。
本預案適用于巫溪縣行政區域內突發性水旱災害的預防和應急處置。突發性水旱災害包括洪澇災害及干旱災害。洪澇災害包含江河洪水、漬澇災害、山洪災害(指由降雨引發的山洪、泥石流、滑坡災害)以及由洪水、地震、人為破壞活動等引發的水庫垮壩、堤防決口、水閘損毀等次生衍生災害;干旱災害包含干旱、供水危機以及供水水質被侵害等次生衍生災害。
1.5?災害分級。
根據水旱災害事件的性質、危害程度、造成的影響等,分為洪澇、干旱兩大類。其中,洪澇災害劃分特別重大(I級)、重大(II級)、較大(III級)、一般(IV級)四級,干旱災害劃分為特大、嚴重、中度、輕度四級(見附件1)。
2?組織指揮體系
2.1?縣級組織指揮機構。
巫溪縣防汛抗旱指揮部(以下簡稱縣防指),在縣委、縣政府統一領導下,以及巫溪縣減災委員會的統籌協調下,負責組織和指揮全縣防汛抗旱工作(見附件2)。
縣防汛抗旱指揮部辦公室(以下簡稱縣防辦)設在縣應急局,承擔縣防指日常工作,組織、協調、指導、監督全縣防汛抗旱工作;組織編制并實施縣防汛抗旱應急預案;負責防汛抗旱信息的收集、分析、管理和發布,指導、組織或參與重大防汛演練和抗洪搶險工作;指導巫溪縣防汛抗旱物資的儲備與管理、巫溪縣防汛抗旱應急搶險救援隊伍和技術力量的建設與管理;組織開展水旱災害的調查和評估;完成上級交辦的其他事項。
2.2?鄉鎮(街道)防汛抗旱機構。
各鄉鎮(街道)確定相應的防汛抗旱機構,具體負責轄區防汛抗旱工作,在縣防指領導指揮下,負責本轄區防汛抗旱與搶險救災的具體工作。村(居)民委員會應當協助當地鄉鎮(街道)開展防汛抗旱與搶險救災的具體工作。
2.3?其他防汛抗旱機構。
有防汛抗旱任務的部門和單位,應當確定防汛抗旱機構,負責做好本行業和本單位的防汛抗旱工作。
2.4?現場指揮機構。
當啟動Ⅱ級以上應急響應或發生重大以上災險情,縣防指應當成立現場指揮部,由防汛抗旱分片包干聯系鄉鎮(街道)縣領導任指揮長,率縣防指有關成員單位負責人和專家赴所聯系鄉鎮(街道)成立現場指揮部,統一領導、組織指揮現場應急處置工作,并服從事件應對指揮部指揮。
2.5?事件應對指揮機構。
當啟動Ⅱ級以上應急響應或發生重大以上災險情,縣防指應當成立事件應對指揮部,統一領導、組織指揮應急處置工作。事件應對指揮部實行指揮長負責制,由縣政府有關領導任指揮長,下設綜合協調、搶險救援、后勤保障、醫學救援、新聞宣傳、災情調查、善后處置等工作組(工作組的組成和職責見附件3)。
3?預防預警
3.1?風險源識別。
3.1.1?洪澇災害。
巫溪縣境內大小河流48條,主要有大寧河、柏楊河、西溪河、東溪河、灣湯河、巴巖子、后溪河流域,均屬長江水系,年均降水總量約56.6億立方米、地表徑流量34.6億立方米,每平方公里86.02萬立方米;全縣各類蓄引提水工程162處,引水量2853萬立方米;有劉家溝、中梁、孔梁三座中型水庫,16座小型水庫;全縣有120個山洪監測點。
巫溪地形以山地為主,屬于典型的中深切割中山地形,境內山大坡陡,立體地貌明顯,最低海拔139.4米,最高海拔2796.8米,雨量充沛,遇到極端暴雨天氣,容易造成洪水陡漲,特別是大寧河、灣湯河、柏楊河超保證水位,加之河道正常行水能力不足以致漫溢,在一定時間內不能順暢排泄,導致洪澇災害。
3.1.2?干旱災害。
干旱一年四季都可能發生,其中包括春旱、夏旱、秋旱、冬旱。其中春旱、冬旱發生頻率較低,影響較小,夏旱、秋旱影響較大,根據近30年統計數據,巫溪縣2006年持續干旱時間達到了96天,創下了巫溪歷史的最高紀錄,讓巫溪20多萬人出現了飲水困難,農作物種植面積66萬畝,有近30萬畝農作物已經絕收;2011年全縣32個鄉鎮(街道)出現不同程度的旱情,菱角、古路、塘坊、勝利、文峰等鄉鎮14.5萬人出現了飲水困難,降水量比常年同期偏少六成,持續干旱還導致農作物嚴重受損,面積達26.8萬畝,其中4萬畝水稻無水插秧,3.5萬畝玉米苗活株困難,2萬畝烤煙無法正期移植,災害已經造成直接經濟損失8000萬元以上。
3.2?信息監測及報送。
3.2.1?氣象水利信息。
縣氣象、水文部門應將重要雨情、水情信息10分鐘內報縣防辦。當啟動Ⅱ級以上應急響應后,縣氣象、水文部門按照響應要求報送相關信息。
3.2.2?工程信息。
涉水在建工程、堤防、涵閘、泵站、水庫水電站等工程管理單位應根據水位變化情況,30分鐘內向縣防辦和行業主管部門、水利部門報告。水庫(水電站)管理單位應隨時掌握工程信息,嚴格按照批準的洪水調度方案運行。當出現災險情時,及時向縣防辦和縣行業主管部門、水利部門報告,做到30分鐘內電話報告,1小時內書面報告,每24小時上報一次險情和救援救災工作動態。
3.2.3?洪澇、干旱災害信息。
災險情發生后,各鄉鎮(街道)應及時核實災險情,向縣防辦和行業主管部門報告??h防辦接報后30分鐘內電話、1小時內書面報縣委、縣政府和市防辦。洪澇災害信息每24小時報告一次災情和救援救災工作動態。特別重大、重大災害每2小時續報事件進展。干旱災害信息至少每10日報告一次災情和救援救災工作動態。
3.2.4?信息上報流程示意圖。

3.3?預防準備。
3.3.1?組織準備。
建立健全組織體系,落實黨委領導下的行政首長負責制,根據領導變化情況,在汛前落實黨政領導“雙值班”和“分片包干責任制”,完成指揮機構人員的調整。落實并公布防汛抗旱政府行政、主管部門、管護單位責任人,明確工作職責。
3.3.2?工程準備。
做好堤防、水庫水電站、河道整治、涵閘、泵站等各類水工程運行準備,按要求完成防汛抗旱工程建設和水毀工程修復建設任務,對存在病險的防洪工程等實行應急除險加固,對在建的涉水工程設施和病險工程落實安全度汛方案和工作措施。
3.3.3?預案準備。
按照防汛抗旱應急預案,有針對性制定應對方案,強化應對極端暴雨、超標準洪水、突發工險情、特大干旱等超常規措施,并有針對性地開展防汛抗旱應急演練。
3.3.4?隊伍準備。
加強消防救援隊伍、綜合應急救援隊伍及社會應急隊伍等搶險救援力量統籌,暢通應急聯絡渠道,健全聯動響應機制。
3.3.5?物資準備。
按照分級負責的原則,縣防辦、各行業主管部門、鄉鎮(街道)、有關企事業單位應儲備必要的防汛抗旱物資,做好救災物資準備,緊急情況下提前調撥。
3.3.6?督查檢查。
按照鄉鎮(街道)自查、縣級督查的原則,對縣屬各單位防汛抗旱指揮部辦公室機構設置、責任落實、隱患排查、會商制度、預案演練、物資準備、隊伍組建等進行重點督查檢查,建立隱患臺賬,對發現的問題限期整改到位。
3.4?預警分級。
按照嚴重程度和影響范圍,洪澇災害和干旱災害應急響應由高到底分為Ⅰ級、Ⅱ級、Ⅲ級、Ⅳ級。
3.5?預警發布與解除。
3.5.1?會商研判。
Ⅳ級預警由縣防辦主任主持會商,Ⅲ級預警由縣防指副指揮長主持會商,Ⅱ級預警由縣防指常務副指揮長主持會商,Ⅰ級預警由縣防指指揮長主持會商。必要時,提請縣委、縣政府領導主持會商。
3.5.2?預警發布。
洪澇災害和干旱災害Ⅰ級、Ⅱ級預警信息由縣政府上報市政府或者縣防指上報市防指同意后,按規定啟動預警信息發布程序。洪澇災害和干旱災害Ⅲ級、Ⅳ級預警信息由縣防指直接發布。有事實證明不可能發生洪澇災害和干旱災害或者危險已經解除的,發布預警信息的部門和單位應當及時宣布終止預警,并逐步解除已經采取的措施。
3.6?預警行動。
預警發布后,采取以下行動。
1.?縣防辦行動:負責向鄉鎮(街道)和成員單位發布預警信息,并提出工作要求;加強防汛抗旱值班值守督查檢查;嚴密關注水情、雨情、工情,適時調整預警級別和啟動防汛應急響應。
2.?縣防指成員單位行動:依權限對本行業預警對象發布預警信息,確保全覆蓋,無遺漏;帶班領導到崗到位,加強值班值守,嚴密關注水情、雨情、工情。氣象、水文等部門做好信息監測報送工作。
3.?鄉鎮(街道)行動:依權限對本轄區預警對象發布預警信息,確保全覆蓋,無遺漏;帶班領導到崗到位,加強值班值守,嚴密關注水情、雨情、工情,做好應急處置準備。
3.7?預警發布流程圖。

4?應急響應
4.1?響應分級。
按照嚴重程度和影響范圍,水旱災害應急響應由高到低分為Ⅰ級、Ⅱ級、Ⅲ級、Ⅳ級。
4.2?先期處置。
事發地鄉鎮(街道)、有關企事業單位、村(社區)是先期處置的主要責任單位。災害發生后,應采取有效處置措施,盡力減少人員傷亡,盡力減少次生、衍生災害發生,收集掌握受災情況并報送縣防辦和行業主管部門。洪澇災害發生后,應立即組織緊急疏散周邊人員,對現場進行警戒;干旱災害發生后,組織力量為發生臨時飲水困難的城鄉居民送水解困。各行業主管部門負責組織和指導本行業領域的先期處置工作。
4.3?啟動條件。
4.3.1 Ⅰ級應急響應啟動條件。
出現下列情形之一時,啟動Ⅰ級應急響應:
- 縣氣象部門發布暴雨災害I級預警(暴雨紅色預警信號),經縣防指研判可能出現特別重大洪澇災害。
- 城區3小時降雨量超過120毫米或24小時降雨量超過250毫米;或者3個以上鄉鎮(街道)3小時內降雨量超過120毫米或24小時降雨量超過250毫米。
- 過去24小時內5個以上鄉鎮(街道)已經出現120毫米以上降雨量,預計上述鄉鎮(街道)中任意3個未來3小時降雨量將達100毫米以上;或者過去48小時5個以上鄉鎮(街道)任意24小時累計降雨量達150毫米以上,預計未來6小時上述鄉鎮(街道)中任意3個仍將出現100毫米以上降雨量。
- 縣水文部門發布水情紅色預警,經縣防指研判可能出現特大洪水(見附件4名詞術語解釋)。
- 大寧河、柏楊河將同時發生超保證水位。
- 大寧河、柏楊河以外5條以上中小河流將發生超保證水位。
- 6個以上山洪災害風險點需要轉移受威脅群眾。
- 洪水可能造成高速公路、縣內省級及以上交通中斷,24小時無法恢復通行。
- 出現或可能出現特別嚴重危及公共安全的山洪、堰塞湖等災害,或一次性因災死亡或失蹤10人以上。
- 城區堤防可能發生大面積垮塌。
- 任意一座水庫可能發生潰壩。
- 發生特大干旱。
- 發生其他特別嚴重危及公共安全或有特別重大社會影響的防汛抗旱突發事件,或按照上級防指和市委、市政府的要求需要啟動Ⅰ級響應的事件。
4.3.2 Ⅱ級應急響應啟動條件。
出現下列情形之一時,啟動Ⅱ級應急響應:
- 縣氣象部門發布暴雨災害I級預警(暴雨紅色預警信號)或暴雨災害Ⅱ級預警(暴雨橙色預警信號),經縣防指研判可能出現重大洪澇災害。
- 城區3小時降雨量超過100毫米或24小時降雨量超過200毫米;或者3個以上鄉鎮(街道)3小時降雨量超過100毫米或24小時降雨量超過200毫米。
- 過去24小時內有5個以上鄉鎮(街道)降雨量已達120毫米以上,預計上述鄉鎮(街道)中任意3個未來3小時降雨量將達100毫米以上?;蛘哌^去48小時有5個以上鄉鎮(街道)任意24小時累計降雨量已達150毫米以上,預計上述鄉鎮(街道)中任意3個未來6小時降雨量將達100毫米以上。
- 縣水文部門發布水情橙色預警,經縣防指研判可能出現大洪水。
- 大寧河、柏楊河任意一條河流將發生超保證水位。
- 大寧河、柏楊河以外三條以上中小河流將發生超保證水位。
- 4個以上山洪災害風險點需要轉移受威脅群眾。
- 洪水可能造成高速公路中斷,12小時無法恢復通行。
- 可能出現嚴重危及公共安全的垮堤、潰壩、堰塞湖等災害,或一次性因災死亡或失蹤?3人以上。
- 城區堤防可能發生垮塌險情。
- 任意一座水庫出現嚴重險情。
- 發生嚴重干旱。
- 發生其他嚴重危及公共安全或有重大社會影響的防汛抗旱突發事件,或按照上級防指和市委、市政府的要求需要啟動Ⅱ響應的事件。
4.3.3 Ⅲ級應急響應啟動條件。
出現下列情形之一時,啟動Ⅲ級應急響應:
- 縣氣象部門發布暴雨災害Ⅱ級預警(暴雨橙色預警信號)或暴雨災害Ⅲ級預警(暴雨黃色預警信號),經縣防指研判可能出現較大洪澇災害。
- 城區3小時降雨量超過80毫米或24小時降雨量超過120毫米;或者3個以上鄉鎮(街道)3小時降雨量超過80毫米或24小時降雨量超過120毫米。
- 過去24小時內有5個以上鄉鎮(街道)降雨量已達100毫米以上,預計上述鄉鎮(街道)中任意3個未來3小時降雨量將達80毫米以上?;蛘哌^去48小時內有5個以上鄉鎮(街道)任意24小時累計降雨量已達100毫米以上,預計上述鄉鎮(街道)中任意3個未來12小時降雨量將達100毫米以上。
- 縣水文部門發布水情黃色預警,經縣防指研判可能出現中洪水。
- 大寧河、柏楊河將同時發生超警戒水位。
- 大寧河、柏楊河外三條以上中小河流將發生超警戒水位。
- 3個以上山洪災害風險點需要轉移受威脅群眾。
- 洪水可能造成縣內省級及以上交通中斷,12小時無法恢復通行。
- 可能出現較嚴重危及公共安全的堰塞湖、垮堤、潰壩等災害,或一次性因災死亡或失蹤2人。
- 鄉鎮(街道)堤防可能發生大面積垮塌。
- 山坪塘、在建涉水工程可能出現嚴重險情。
- 全縣發生中度干旱。
- 發生其他較嚴重危及公共安全或有較重大社會影響的防汛抗旱突發事件,或按照市防指和縣委、縣政府的要求需要啟動Ⅲ級響應的事件。
4.3.4 Ⅳ級應急響應啟動條件。
出現下列情形之一時,啟動Ⅳ級應急響應:
- 縣氣象部門發布暴雨災害Ⅲ級預警(暴雨黃色預警信號)或暴雨災害Ⅳ級預警(暴雨藍色預警信號),經縣防指研判可能出現一般洪澇災害。
- 過去24小時有5個以上鄉鎮(街道)降雨量已達100毫米以上,預計上述鄉鎮(街道)未來24小時降雨量將達50毫米以上。
- 縣水文部門發布水情藍色預警,經縣防指研判可能出現小洪水。
- 大寧河、柏楊河任意一條河流將發生超警戒水位。
- 大寧河、柏楊河外2條以上中小河流將發生超警戒水位。
- 2個以上山洪災害風險點需要轉移受威脅群眾。
- 洪水可能造成縣級交通中斷,12小時無法恢復通行。
- 可能出現一般性危及公共安全的堰塞湖、垮堤、潰壩等災害,或一次性因災死亡或失蹤1人。
- 鄉鎮(街道)堤防可能發生垮塌險情。
- 山坪塘、在建涉水工程可能出現較嚴重險情。
- 全縣發生輕度干旱。
- 發生其他危及公共安全或有社會影響的防汛抗旱突發事件,或按照縣委、縣政府的要求需要啟動Ⅳ級響應的事件。
4.4?啟動程序。
Ⅰ級應急響應由縣防辦書面提出啟動應急響應建議,由縣防指指揮長或者常務副指揮長組織會商后報縣長決定啟動Ⅰ級應急響應。Ⅱ級應急響應由縣防辦書面提出啟動應急響應建議,由縣防指常務副指揮長組織會商后報指揮長決定啟動Ⅱ級應急響應。Ⅲ級應急響應由縣防指副指揮長組織會商后報常務副指揮長批準后啟動。Ⅳ級應急響應由縣防辦主任組織會商后報縣防指副指揮長批準后啟動,必要時也可由縣防辦直接啟動。
4.5?響應措施。
4.5.1 Ⅰ級應急響應措施。
啟動Ⅰ級應急響應后,由縣政府宣布全縣進入防汛抗旱緊急期,全縣立即采取停學、停工、停業、停運、停游、停航等措施??h長坐鎮縣防辦統一指揮,全縣鄉鎮(街道)、各部門、有關單位全力以赴投入防汛抗旱和搶險救災工作,最大限度地降低洪旱災害損失。
1.?成立事件應對指揮部??h長任指揮長,縣防指指揮長、縣防指常務副指揮長及副指揮長,縣級有關部門、事發地鄉鎮(街道)以及搶險救援隊負責人任副指揮長。明確各工作組組長及職責分工,開設統一的隊伍集結點、物資接收和分發點、新聞中心,成立專家組,明確專家組組長。
2.?成立現場指揮部。按照防汛抗旱期間領導干部聯系搶險救災工作機制,防汛抗旱分片包干聯系鄉鎮(街道)縣領導率縣防指有關成員單位負責人和專家赴所聯系鄉鎮(街道)成立現場指揮部,開展現場指揮,并服從事件應對指揮部指揮。
3.?組織會商研判??h長或委托縣防指指揮長組織有關鄉鎮(街道),宣傳、網信、教育、經濟信息、公安、民政、住房城鄉建設、城市管理、交通、水利、農業農村、商務、文化旅游、衛生健康、應急、規劃自然資源、氣象等部門和專家對雨情、水情、旱情、險情發展態勢以及洪旱災害風險滾動開展聯合會商研判。根據綜合會商研判意見,作出針對性安排部署,明確防御、救援工作重點,提出防洪調度、危險區域劃分、轉移撤離、停供電范圍以及抗旱調度、水源排查、水質監測、應急送水等搶險救災方案。水利部門每小時報送1次河流水位,氣象部門每小時報送1次降雨量、實時小時雨強、累計雨量和后期降雨趨勢,至本次應急響應結束時停止報送。
4.?加強值班值守。抽調住房城鄉建設、水利、規劃自然資源、氣象等部門相關人員在縣防辦集中辦公,實行?24?小時值班;鄉鎮(街道)2名主要負責人到崗指揮,班子成員及全體工作人員全部到崗;各成員單位主要負責人到崗指揮,全體班子成員及全體工作人員到崗。增加值班人員,密切監視雨情、水情、汛情、旱情、工情、險情,明確專人收集、上報信息。重要水情、雨情信息,實行“叫應”機制,由縣防辦電話通知到有關鄉鎮(街道)和教育、經濟信息、住房城鄉建設、城市管理、交通、水利、農業農村、文化旅游、規劃自然資源等部門值班室。
5.?組織疏散轉移。對可能出現災害的重要場所、部位、設施設備明確專人值守,實施緊急管控,第一時間對可能受威脅的人員、車輛等重要物資提前組織撤離轉移,對老幼病殘孕等弱勢群體進行“一對一”幫助轉移。
6.?開展搶險救援。調集、征用相關應急搶險物資,調度隊伍參與搶險救災。對受困、落水人員及時施救;對可能導致次生事故災害的失控打流船舶、大型漂浮物、危險物品等實施應急處置;在保證安全的前提下,實施排洪、排澇、排危;按照先生活、后生產、再生態的原則做好水資源調度、應急送水等抗旱救援工作。當災險情超出處置能力時,請求市政府、市防指給予指導和專家、隊伍、物資、裝備等方面的支援。必要時商請縣外救援力量參與搶險救災。
7.?加強危險區域和重點區域管控。組織實施防御洪水、防御旱災調度和應急水量調度;實施交通管制,開展治安秩序維護工作,對危險路段、公路、橋梁、隧道、山洪災害風險點、漫水橋、低洼地帶等危險區域實施警戒、管制、關閉等措施;實施水上交通管制;切斷危險區域內的供電、供氣。
8.?妥善安置受災人員。落實受災人員臨時生活住所和基本生活物資供給,保證災區社會穩定,根據需要救助受災嚴重的困難群眾,開展撫慰。
- 及時收集匯總上報災情動態。啟動Ⅰ級應急響應后,5小時內發布權威信息,24小時內舉行新聞發布會。組織媒體開展宣傳報道,做好網上輿情監測和引導工作,及時回應社會關切。
- 采取其他有必要的措施。
4.5.2?Ⅱ級應急響應措施。
啟動Ⅱ級應急響應后,由縣政府或者授權縣防指宣布全縣進入防汛抗旱緊急期,必要時,可采取停學、停工、停業、停運、停游、停航等措施??h防指指揮長坐鎮縣防辦統一指揮,全縣鄉鎮(街道)、各部門、有關單位將防汛抗旱和搶險救災工作作為當前重點工作,最大限度地降低洪旱災害損失。
1.?縣防指(縣防辦)響應措施。
(1)成立事件應對指揮部??h防指指揮長任指揮長,常務副指揮長,縣防指副指揮長,縣級有關部門、事發地鄉鎮(街道)以及搶險救援隊負責人任副指揮長。明確各工作組組長及職責分工,開設統一的隊伍集結點、物資接收和分發點、新聞中心,成立專家組,明確專家組組長。
(2)成立現場指揮部。按照防汛抗旱期間領導干部聯系搶險救災工作機制,防汛抗旱分片包干聯系鄉鎮(街道)縣領導率縣防指有關成員單位負責人和專家赴所聯系鄉鎮(街道)成立現場指揮部,開展現場指揮。
(3)組織會商研判??h防指指揮長或委托常務副指揮長組織有關鄉鎮(街道),宣傳、網信、教育、經濟信息、公安、住房城鄉建設、城市管理、交通、水利、農業農村、商務、文化旅游、衛生健康、應急、大數據、規劃自然資源、氣象等部門和專家對雨情、水情、旱情、險情發展態勢以及洪旱災害風險滾動開展聯合會商研判。根據綜合會商研判意見,作出針對性的安排部署,明確防御工作重點,提出防洪調度、危險區域劃分、轉移撤離、停供電范圍以及抗旱調度、水源排查、水質監測、應急送水等搶險救災方案。
(4)加強值班值守。抽調住房城鄉建設、水利、氣象等部門相關人員在縣防辦集中辦公,實行24小時值班;密切監視雨情、水情、汛情、旱情、工情、險情,明確專人收集、上報信息。重要水情、雨情信息,實行“叫應”機制,由縣防辦電話通知到有關鄉鎮(街道)和教育、經濟信息、住房城鄉建設、城市管理、交通、水利、農業農村、文化旅游、規劃自然資源等部門值班室。
(5)開展搶險救援。調集、征用相關應急搶險物資,調度隊伍參與搶險救災。當災險情超出處置能力時,請求市防指給予指導和專家、隊伍、物資、裝備等方面的支援。必要時商請縣外救援力量參與搶險救災。
(6)及時收集匯總上報災情動態。5小時內發布權威信息,24小時內舉行新聞發布會。組織媒體開展宣傳報道,做好網上輿情監測和引導,及時回應社會關切。
(7)采取其他有必要的措施。
2.?成員單位響應措施。
啟動本單位應急響應,全員到崗,黨政主要領導到位指揮,增加值班人員,加強值班值守。依權限對本行業預警對象發布預警信息,提出工作要求,確保全覆蓋,無遺漏。根據行業特點,分析研判風險,提前采取措施。加強預測預警預報,水文部門每小時報送1次河流水位,氣象部門每小時報送1次降雨量、實時小時雨強、累計雨量和后期降雨趨勢,至本次應急響應結束時停止報送。水利部門組織實施防御洪水、防御旱災調度和應急水量調度;公安部門實施交通管制,暢通救援通道,開展治安秩序維護工作,并對危險區域實施警戒,除救援人員外,嚴禁人員進入;交通部門實施水上交通管制;電力、燃氣等單位根據需要切斷危險區域內的供電、供氣;有關單位對可能出現災害的重要場所、部位、設施設備明確專人值守,實施緊急管控。加強本行業隱患排查,督促責任人到崗履職。對本行業的防汛工作開展督查檢查,督促本行業隱患和風險點落實專人值守,指導群眾開展轉移避險工作。嚴密關注水情、雨情、工情,一旦出現災險情,應急隊伍第一時間做好搶險救援工作;明確專人收集信息上報,接到險情、災情報告后,按照30分鐘內電話報告,1小時內書面報告的要求,向縣委辦、縣政府辦、縣防辦報告,并安排專人做好后續信息報送。
3.?鄉鎮(街道)響應措施。
啟動本級應急響應,全員到崗,黨政至少一名主要領導到位指揮,其他班子成員和全體機關干部到崗,增加值班人員,加強值班值守。依權限對本轄區預警對象發布預警信息,提出工作要求,確保全覆蓋,無遺漏。加強隱患排查,各級責任人到崗履職。對轄區危險路段、公路、橋梁、隧道、山洪災害風險點、漫水橋、低洼地帶等危險區域安排專人值守,對可能受威脅的人員、車輛等重要物資提前組織撤離轉移,對老幼病殘孕等弱勢群體進行“一對一”幫助轉移。應急隊伍第一時間開展搶險救援。協同有關部門落實受災人員臨時生活住所和基本生活物資供給,保證災區社會穩定,根據需要救助受災嚴重的困難群眾。明確專人收集信息上報,接到險情、災情報告后,按照30分鐘內電話報告,1小時內書面報告的要求,向縣委辦、縣政府辦、縣防辦報告,并安排專人做好后續信息報送。
4.5.3?III級應急響應措施。
1.?縣防指(縣防辦)響應措施。
(1)組織會商研判??h防指副指揮長或委托縣防辦主任在縣防辦坐鎮統一指揮,并組織有關鄉鎮(街道),教育、經濟信息、住房城鄉建設、城市管理、交通、水利、農業農村、文化旅游、應急、規劃自然資源、氣象等部門對雨情、水情、旱情、險情發展態勢以及洪旱災害風險開展聯合會商研判。根據綜合會商研判意見,作出針對性的安排部署。視情適時調整預警和防汛應急響應級別。
(2)視情派出工作組。視情向有關鄉鎮(街道)派出工作組,由縣防指成員單位領導任組長,相關專業技術人員參加,趕赴有關鄉鎮(街道)檢查、指導防汛搶險救災工作。
(3)加強監測預警??h氣象、水文等部門分別做好氣象、水情信息監測報送、預警工作。重要水情、雨情信息,實行“叫應”機制,由縣防辦電話通知到有關鄉鎮(街道)和教育、經濟信息、住房城鄉建設、城市管理、交通、水利、農業農村、文化旅游、規劃自然資源等部門值班室。
(4)加強值班值守??h防辦增加2名人員值班,加強值班力量,嚴密關注雨情、水情、工情,明確專人收集、上報信息。
(5)及時開展救援行動。調度救援隊伍對被困人員開展救援行動,救援時必須確保救援人員安全,嚴禁發生次生災害。
(6)及時上報信息。及時收集、核實、匯總上報災情動態。
2.?成員單位響應措施。
啟動本單位應急響應,帶班領導和分管領導到位指揮,相關科室負責人到崗,加強值班值守。依權限對本行業預警對象發布預警信息,提出工作要求,確保全覆蓋,無遺漏。根據行業特點,分析研判風險,提前采取措施。水利部門實施水量調度;公安部門對危險公路實施交通管制,并對危險區域實施警戒;交通部門根據河流水位上漲情況實施水上交通管制;電力、燃氣等單位根據需要切斷危險區域內的供電、供氣;有關單位對可能出現災害的重要場所、部位、設施設備明確專人值守。加強本行業隱患排查,督促責任人到崗履職。對本行業的防汛工作開展督查檢查,督促本行業隱患和風險點落實專人值守。嚴密關注水情、雨情、工情,本行業一旦出現災險情,第一時間組織和指導本行業開展應急處置。明確專人收集信息上報,接到險情、災情報告后,按照30分鐘內電話報告,1小時內書面報告的要求,向縣委辦、縣政府辦、縣防辦報告,并安排專人做好后續信息報送。
3.?鄉鎮(街道)響應措施。
啟動本單位應急響應,帶班領導和分管領導到位指揮,加強值班值守。依權限對本轄區預警對象發布預警信息,提出工作要求,確保全覆蓋,無遺漏。加強轄區隱患排查,督促各級責任人到崗履職。加強轄區山洪災害風險點、地災隱患點、低洼地帶等危險區域管控,明確專人對威脅區老幼病殘孕等弱勢群體進行“一對一”幫助轉移。應急隊伍做好搶險準備,嚴密關注水情、雨情、工情,一旦出現災險情,第一時間開展應急處置。協同有關部門落實受災人員臨時生活住所和基本生活物資供給,保證災區社會穩定。明確專人收集信息上報,接到險情、災情報告后,按照30分鐘內電話報告,1小時內書面報告的要求,向縣委辦、縣政府辦、縣防辦報告,并安排專人做好后續信息報送。
4.5.4Ⅳ級應急響應。
1.?縣防指(縣防辦)響應措施。
(1)組織會商研判??h防辦主任組織有關鄉鎮(街道),住房城鄉建設、城市管理、交通、水利、農業農村、文化旅游、應急、規劃自然資源、氣象等部門對雨情、水情、旱情發展態勢以及洪旱災害風險開展聯合會商研判,作出針對性的安排部署。視情適時調整預警和防汛應急響應級別。
(2)加強監測預警。縣氣象、水文等部門分別做好氣象、水情信息監測報送、預警工作。
(3)加強值班值守??h防辦增加1人值班,值班人員嚴密關注雨情、水情、工情,確保信息傳遞暢通、及時;加強防汛抗旱值班值守督查檢查。
2.?成員單位響應措施。
依權限對本行業預警對象發布預警信息,提出工作要求,確保全覆蓋,無遺漏;帶班領導到崗到位,加強值班值守,嚴密關注水情、雨情、工情,做好應急處置準備。氣象、水文等部門做好信息監測報送工作;各成員單位根據行業特點,分析研判風險,及時發布信息,提前采取應對措施,做好隊伍、物資應急處置準備。水利部門提前做好水量調度。
3.?鄉鎮(街道)響應措施。
帶班領導到崗指揮。依權限對本轄區預警對象發布預警信息,提出工作要求,確保預警信息傳遞到村、到戶、到人,做到全覆蓋、無遺漏。分析研判本轄區風險,提前采取應對措施。加強山洪災害風險點、低洼地帶等危險區域巡查排查。做好隊伍、物資應急處置準備。加強值班值守,嚴密關注水情、雨情、工情,及時上報信息。
4.6響應調整和終止。
根據形勢變化,宣布啟動響應的組織機構及時調整應急響應級別和措施,當汛情、旱情、災險情有加重趨勢時及時提級響應,當事態得到有效控制時,可視情降低響應級別。當災害過程已結束、災害影響基本消除或事態得到全面控制時,由宣布啟動響應的組織機構宣布響應終止。上級組織機構可以調整下級組織機構的響應。
4.7?后期處置。
4.7.1?恢復重建。
災后恢復重建工作由事發地屬地政府組織,有關部門按照職責幫助災區群眾開展生產自救,盡快恢復正常的生產生活秩序。有關行業主管部門盡快組織修復遭到毀壞的城鄉供水工程和交通、電力、通信、水文、供水等基礎設施。
4.7.2?征用補償。
防汛抗旱結束后,應當及時歸還征用的物資、設備、交通運輸工具等,并依法給予補償。取土、占地、砍伐林木的,應當依法向有關部門補辦手續。當地政府對取土后的土地組織復墾,對砍伐的林木組織補種。
4.7.3?保險理賠。
災害發生后,當地政府應及時協調有關保險公司提前介入,按照工作程序做好參保理賠工作。
4.7.4?調查與評估。
應急響應結束后,各級防汛抗旱機構應當組織開展災害調查、評估工作,總結防范和應對處置工作中的經驗教訓,并及時將調查評估報告報送本級政府和上級防汛抗旱機構。
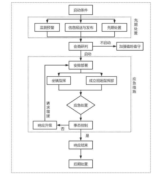
4.8?應急響應流程圖。

5?應急保障
5.1?制度保障。
根據有關法規,建立和完善水旱災害會商、搶險技術方案會商、重大決策會商和咨詢制度,以及防汛抗旱工作檢查、值班、災害報告、災害事故調查評估及追責問責等工作制度。
5.2?通信保障。
通信管理部門為防汛抗旱和現場指揮提供通信保障。充分利用手機短信手段發布預警信息,通知群眾快速撤離。
5.3?隊伍保障。
應急部門統籌消防救援隊伍和專業搶險隊伍,按照規定程序協調解放軍、武警部隊、民兵和預備役部隊以及民間應急救援力量參與防汛抗旱搶險救災。
5.4?物資保障。
足量、科學儲備物資裝備,充實縣防汛抗旱綜合物資裝備庫。防洪工程管理單位以及受水旱災害影響的其他單位要建立防汛物資裝備庫。易旱、缺水地區應貯備一定的抗旱物資。
5.5?交通運輸保障。
交通部門做好人員及物資運輸保障,公安部門對重點區域實施交通管制,城市管理部門做好縣城道路、橋梁、隧道等設施的維護管理。
5.6?醫療衛生保障。
衛生健康部門負責災區緊急醫學救援和疾病預防控制工作,尤其要預防因災害而衍生的疾病流行等公共衛生事件發生。
5.7?供電、供氣、供水保障。
縣經濟信息委負責保障抗洪搶險和抗旱救災的電力供應、電力安全,供水保障、水質安全以及用氣保障和用氣安全。
5.8?治安保障。
事發地政府負責組織社會力量開展自救互助、群防群治,公安部門負責治安保障,全力維護事發地的社會穩定。
5.9?經費保障。
縣政府將防汛抗旱應急資金列入同級財政預算,財政部門及時撥付應急資金,保證搶險救災需要。
5.10?社會動員保障。
由縣防汛抗旱機構報請同級政府批準后進行社會動員,組織各類社會力量參加防汛抗旱救災,在本行政區域內調用物資、設備、交通運輸工具和人力,采取取土占地、砍伐林木、清除阻水障礙物和其他必要的緊急措施,保障搶險工作順利開展。
紅十字會等其他慈善組織可依法有序組織開展慈善捐贈活動;民政局負責慈善捐贈活動的指導和監督。
5.11?技術保障。
充分利用現有防汛抗旱系統、自動化監測系統、防汛抗旱專家庫及防汛抗旱科研成果,為防汛抗旱提供技術支撐。
組建縣防汛抗旱專家庫,接受縣防汛抗旱組織指揮機構統一調度,指導防汛抗旱工作。
5.12?避難場所保障。
縣政府和屬地鄉鎮(街道)、有關企事業單位根據現有條件建立救生通道、應急避難場所,確保受災群眾有飯吃、有衣穿、有干凈水喝、有住處、有病能及時就醫。
6?培訓與演練
巫溪縣各級防汛抗旱組織指揮機構應通過編印發放培訓材料、舉辦培訓班、開展工作研討等方式,組織與應急預案實施密切相關的管理人員和專業救援人員等開展應急培訓,每年至少組織開展1次。
巫溪縣各級防汛抗旱組織指揮機構根據實際情況采取實戰演練、桌面推演等方式,組織開展廣泛參與、聯動處置、形式多樣、節約高效的應急演練。全縣每年至少開展1次防汛抗旱綜合性演練,洪旱災害易發區域所在地政府針對當地易發的各類險情每年針對性地進行演練。多個部門聯合進行的演練,一般1—2年開展1次。
7?附則
7.1?預案管理。
縣應急局組織政府有關部門和單位定期開展預案評估工作,原則上每5年對本預案全面修訂一次。有以下情形之一的,應當及時修訂預案:有關法律、法規、規章、標準、上位預案中的有關規定發生變化的;防汛抗旱組織指揮機構及其職責發生重大調整的;面臨的風險發生重大變化的;重要應急資源發生重大變化的;預案中的其他重要信息發生變化的;在突發事件實際應對和應急演練中發現問題需要作出重大調整的;應急預案制定單位認為應當修訂的其他情況。
有關部門和單位要結合實際,編制、修訂本行業、領域的防汛抗旱應急預案和本部門、本單位的防汛抗旱工作方案或處置方案,并報縣防辦備案。
7.2?預案解釋。
本預案由縣應急局負責解釋。
7.3?預案實施。
本預案自印發之日起施行?!段紫h防汛抗旱應急預案》(巫溪府辦發〔2021〕87號)同時廢止。
附件:1.?巫溪縣水旱災害分級標準
- 縣防汛抗旱指揮部及成員單位職責
3.?洪旱災害事件應對指揮機構架構圖
4.?名詞術語解釋
5.?巫溪縣水系統
6.?巫溪縣應急專家信息
附件1
巫溪縣水旱災害分級標準
一、洪澇災害分級
(一)特別重大洪澇災害(I?級)。
1.?造成死亡或失蹤10人以上,或直接經濟損失1億元以上;
2.?大寧河、柏楊河任意一條河流發生特大洪水,或者大寧河、柏楊河任意一條河流水位達到或超過歷史最高水位。
3.?城區堤防可能發生大面積垮塌險情;
4.?城區可能發生特別重大洪澇災害,或者5個以上沿河城鎮可能發生重大洪澇災害;
5.?任意1座水庫發生或可能發生潰壩;
6.?洪水可能造成高速公路中斷,24小時無法恢復通行。
(二)重大洪澇災害(II?級)。
1.?造成死亡或失蹤?3人以上,或直接經濟損失0.8億元以上;
2.?大寧河、柏楊河任意一條河流發生大洪水,或者大寧河、柏楊河任意一條河流發生超保證洪水。
3.?城區堤防可能發生垮塌險情;
4.?城區可能發生重大洪澇災害,或者5個以上沿河城鎮可能發生較大洪澇災害;
5.?任意1座水庫、在建涉水工程出現或可能發生嚴重險情;
6.?洪水可能造成高速公路中斷,12小時無法恢復通行。
(三)較大洪澇災害(III?級)。
1.?造成死亡或失蹤?2人,或直接經濟損失0.5億元以上;
2.?大寧河、柏楊河任意一條河流發生中洪水;或者大寧河、柏楊河任意一條河流發生超警戒洪水;
3.?沿河城鎮堤防發生大面積垮塌或出現重大險情;
4.?2個以上沿河城鎮可能發生重大洪澇災害;
5.?連體山坪塘、在建涉水工程出現嚴重險情;
6.?洪水造成縣內省道以上交通中斷,24?小時無法恢復通行。
(四)一般洪澇災害(IV?級)。
1.?造成死亡或失蹤1人,或直接經濟損失0.1億元以上;
2.?大寧河、柏楊河任意一條河流發生小洪水,或者大寧河、柏楊河任意一條河流達到警戒洪水;
3.?沿河城鎮堤防出現垮塌險情;
4.?連體山坪塘、在建涉水工程可能出現較嚴重險情;
5.?個別鄉鎮(街道)發生較大洪澇災害;
6.?洪水造成縣內交通干道交通中斷,24?小時無法恢復通行。
二、干旱災害分級
(一)特大干旱。
糧食因旱損失率在?25%以上,或因旱飲水困難人口在?5萬人以上(或因旱飲水困難率在?15%以上);
(二)嚴重干旱。
糧食因旱損失率在?20%以上,或因旱飲水困難人口在?3萬人以上(或因旱飲水困難率在?10%以上);
(三)中度干旱。
糧食因旱損失率在?15%以上,或因旱飲水困難人口在?2萬人以上(或因旱飲水困難率在?5%以上);
(四)輕度干旱。
糧食因旱損失率在?10%以上,或因旱飲水困難人口在?1萬人以上(或因旱飲水困難率在?3%以上)。
三、預警分級
巫溪縣洪澇災害和干旱災害預警級別由高到低分為:特別重大(Ⅰ級)、重大(Ⅱ級)、較大(Ⅲ級)和一般(Ⅳ級),依次用紅色、橙色、黃色和藍色標示。
(一)Ⅰ級(紅色)預警
特別重大(Ⅰ級,紅色)預警由縣防指指揮長或者委托常務副指揮長組織有關鄉鎮(街道),宣傳、網信、教育、經濟信息、公安、住房城鄉建設、城市管理、交通、水利、農業農村、商務、文化旅游、衛生健康、大數據、應急、規劃自然資源、氣象等部門開展會商,明確工作措施。
出現下列情況之一時,發布Ⅰ級(紅色)預警:
1.大寧河、柏楊河任意一條河流水位將達到或超過歷史最高水位。
2.?洪峰流量或洪量的重現期大于50?年(特大洪水)。
3.?預計未來24小時?5個以上鄉鎮(街道)降雨量將達250毫米以上。
4.?過去24小時內有5個以上鄉鎮(街道)降雨量已達120毫米以上,預計上述鄉鎮(街道)中任意3個未來3小時降雨量將達100毫米以上?;蛘哌^去48小時有5個以上鄉鎮(街道)任意24小時累計降雨量已達150毫米以上,預計上述鄉鎮(街道)中任意3個未來6小時降雨量將達100毫米以上。
5.?可能出現特別嚴重危及公共安全的垮堤、潰壩等災害險情,嚴重危及人民生命財產安全。
6.?已經發生嚴重及以上干旱,且6—9月期間預計15日內、其余時段預計30日內旱情有加重趨勢。
7.?可能發生其他特別嚴重危及公共安全或有重大社會影響的防汛抗旱突發事件,或按照市防指和縣委、縣政府的要求需要發布特別重大(Ⅰ級、紅色)水旱災害預警的事件。
(二)Ⅱ級(橙色)預警
重大(Ⅱ級,橙色)預警由縣防指常務副指揮長或者委托副指揮長組織有關鄉鎮(街道),宣傳、網信、教育、經濟信息、公安、住房城鄉建設、城市管理、交通、水利、農業農村、商務、文化旅游、衛生健康、大數據、應急、規劃自然資源、氣象等部門開展會商,明確工作措施。
出現下列情況之一時,發布Ⅱ級(橙色)預警:
1.大寧河、柏楊河任意一條河流將超過保證水位。
2.?洪峰流量或洪量的重現期20~50?年(大洪水)。
3.?預計未來24小時?5個以上鄉鎮(街道)降雨量將達200毫米以上。
4.?過去24小時內有5個以上鄉鎮(街道)降雨量已達100毫米以上,預計上述鄉鎮(街道)中任意3個未來3小時降雨量將達80毫米以上。或者過去48小時內有5個以上鄉鎮(街道)任意24小時累計降雨量已達100毫米以上,預計上述鄉鎮(街道)中任意3個未來12小時降雨量將達100毫米以上。
5.?可能出現嚴重危及公共安全的垮堤、潰壩等災害險情,嚴重危及人民生命財產安全。
6.?已經發生中度及以上干旱,且6—9月期間預計20日內、其余時段預計30日內旱情有加重趨勢。
7.?可能發生其他嚴重危及公共安全或有重大社會影響的防汛抗旱突發事件,或按照市防指和縣委、縣政府的要求需要發布重大(Ⅱ級、橙色)水旱災害預警的事件。
(三)Ⅲ級(黃色)預警
較大(Ⅲ級,黃色)預警由縣防指副指揮長或者委托縣防辦主任組織有關鄉鎮(街道),教育、經濟信息、住房城鄉建設、城市管理、交通、水利、農業農村、文化旅游、應急、規劃自然資源、氣象等部門開展會商,明確工作措施。
出現下列情況之一時,發布Ⅲ級(黃色)預警:
1.大寧河、柏楊河任意一條河流將超過警戒水位。
2.?洪峰流量或洪量的重現期5~20?年(中洪水)。
3.?預計未來24小時?5個以上鄉鎮(街道)降雨量將達150毫米以上。
4.?過去24小時有5個以上鄉鎮(街道)降雨量已達100毫米以上,預計上述鄉鎮(街道)未來24小時降雨量將達50毫米以上。
5.?可能出現較嚴重危及公共安全的垮堤、潰壩等災害險情,較重危及人民生命財產安全。
6.?已經發生輕度干旱,且6—9月期間預計15日內、其余時段預計20日內旱情有加重趨勢。
可能發生其他較重危及公共安全或有較大社會影響的防汛抗旱突發事件,或按照市防指和縣委、縣政府的要求需要需要發布較大(Ⅲ級、黃色)水旱災害預警的事件。
(四)Ⅳ級(藍色)預警
一般(Ⅳ級,藍色)預警由縣防辦主任組織有關鄉鎮(街道),住房城鄉建設、城市管理、交通、水利、農業農村、文化旅游、應急、規劃自然資源、氣象等部門開展會商,明確工作措施。
出現下列情況之一時,發布Ⅳ級(藍色)預警:
1.大寧河、柏楊河任意一條河流將達到警戒水位。
2.?洪峰流量或洪量的重現期小于5?年(小洪水)。
3.?預計未來24小時城區降雨量將達100毫米以上或5個以上鄉鎮(街道)降雨量將達80毫米以上。
4.?過去24小時有4個以上鄉鎮(街道)降雨量已達50毫米以上,預計上述鄉鎮(街道)中任意2個未來6小時降雨量將達50毫米以上或未來6小時城區降雨量達80毫米以上。
5.?可能出現危及公共安全的垮堤、潰壩等災害險情,危及人民生命財產安全。
6. 6—9月期間連續20日、其余時段連續25日無有效降雨,且預計短期內仍無有效降雨。
7.?可能發生其他危及公共安全或有社會影響的防汛抗旱突發事件,或按照市防指和縣委、縣政府的要求需要發布一般(Ⅳ級、藍色)水旱災害預警的事件。
附件2
縣防汛抗旱指揮部及成員單位職責
一、指揮部職責
縣防汛抗旱指揮部指揮長由縣政府常務副縣長擔任,常務副指揮長由分管副縣長擔任,副指揮長由政府辦公室聯系副主任、縣應急局局長、縣水利局局長擔任。
主要職責:貫徹落實國家防汛抗旱總指揮部、長江防汛抗旱總指揮部以及縣委、縣政府對防汛抗旱工作的決策部署,充分發揮在防汛抗旱工作中的牽頭抓總作用,強化組織、協調、指導、監督職能;研究貫徹落實國家防汛抗旱政策法規,擬訂本級規章制度,依法組織制定和實施重要江河和重要水工程的防御洪水方案、洪水調度方案、應急水量調度方案等;組織開展防汛抗旱檢查,監督落實重要工程和重點地區防汛抗旱責任人;組織協調、指揮決策和指導監督重大水旱災害應急搶險救援工作,調度運用影響重大的防洪抗旱工程設施;指導監督防汛抗旱重大決策的貫徹落實。
二、成員單位職責
縣防汛抗旱指揮部成員單位包括縣委宣傳部(縣委網信辦)、縣發展改革委、縣教委、縣經濟信息委、縣科技局、縣公安局、縣民政局、縣財政局、縣規劃自然資源局、縣生態環境局、縣住房城鄉建委、縣城市管理局、縣交通局、縣水利局、縣農業農村委、縣商務委、縣文化旅游委、縣衛生健康委、縣應急局、巫溪水文站、縣人武部、縣武警中隊、縣氣象局、縣消防救援大隊、重慶市渝寧水利水電開發有限責任公司、中石油巫溪分公司、縣供電公司分管負責人。
主要職責:
縣委宣傳部(縣委網信辦):負責組織媒體做好防汛抗旱工作的宣傳報道工作;指導有關部門做好洪旱災害及突發事件信息發布和輿論引導;指導有關部門開展防汛抗旱知識宣傳教育。負責統籌協調指導防災減災救災網絡輿情的引導處置工作。
縣發展改革委:負責指導防汛抗旱工程規劃和建設工作;負責防汛抗旱設施建設、重點工程除險加固計劃的協調安排和監督管理。
縣教委:負責指定防汛抗旱教育工作方案并協助實施;負責教育系統防洪安保工作。
縣科技局:負責提供科技方面綜合咨詢建議,協調適用于災區救援的科技成果支持應急救災工作;為防災減災救災提供科技支撐。協調上級部門做好水工程地震觀測及預報預警工作,配合開展水工程地震安全性評價,指導全縣重點水工程防震減災能力建設。完成指揮部交辦的其他工作。
縣經濟信息委:負責全縣經信系統的防汛抗旱搶險救災工作,負責防汛抗旱信息化建設的技術支持,協調防汛抗旱信息的應急發布。負責防汛抗旱搶險救災的通信保障,協調防汛抗旱信息的通信資源調度。
縣公安局:負責防汛抗旱交通秩序維護、治安管理和安全保衛工作,維護受災地區正常的社會秩序,協助做好被洪水圍困群眾的撤離和搶險救災工作。
縣民政局:負責支持引導災害社工等社會力量參與搶險救災、救災捐贈等工作,督促指導各鄉鎮(街道)及時將符合條件的受災人員納入臨時救助或最低生活保障范圍;做好因災遇難人員殯儀工作。
縣財政局:負責向上級申報防汛抗旱資金,編制全縣防汛抗旱和救災經費預算并及時撥付,負責防汛抗旱資金管理和監督。指導、督促、協調所監管企業做好防汛抗旱相關工作。
縣規劃自然資源局:負責全縣因洪旱災害引發的地質災害的群測群防、監測預警和應急處置工作。
縣生態環境局:負責組織全縣因洪旱災害引發的環境污染事故和生態破壞事件的環境應急監測,提出防止事態擴大和控制污染的要求或建議。
縣住房城鄉建委:負責做好在建房屋建筑和市政基礎設施工程施工現場的防洪安全工作。
縣城市管理局:負責城市市政設施防洪安全。
縣交通局:負責組織、指導開展因洪旱災害導致的交通基礎設施損毀修復搶險等應急處置工作,為防汛抗旱搶險救災提供交通運輸保障。
縣水利局:負責落實綜合防災減災規劃相關要求,組織編制洪水干旱災害防治規劃并按防護標準實施;承擔水情、旱情監測預警工作;組織編制重要河流、水庫和重要水工程的防御洪水防御旱災調度和應急水量調度方案,按程序報批并組織實施;承擔防御洪水應急搶險的技術支撐工作。組織實施山洪災害防治、水利水毀工程修復工作。負責指導、督促相關單位和鄉鎮(街道)抓好水庫蓄水安全防范工作。
縣農業農村委:負責指定和實施農業科技防御洪水抗御旱災方針政策,指導建設全縣農業防汛抗旱防災減災技術服務體系,組織維修人員到災區幫助搶修農業機械,組織農技人員深入災區,幫助指導群眾開展生產自救,恢復農業生產,并做好農業生產受災和損失分析統計工作,組織指導災后恢復重建工作。
縣商務委:負責組織指導商業企業防洪搶險工作和協調商業企業參與搶險救援;組織和協調縣內應急生活物資供應,按程序動用縣級儲備物資,穩定市場供應;協助組織自然災害搶險救援相關物資。
縣文化旅游委:根據縣防汛抗旱指揮部和縣氣象局等部門提供的汛情、旱情、災情和氣象等資料,指導、協調、監督廣播電視播出機構及時向公眾發布氣象、汛情、旱情、災情等信息;負責旅游景區防洪工作。
縣衛生健康委:負責災區醫療救護和疾病預防控制工作。組織、調配應急隊伍搶救負傷人員;建立疫情報告制度,并采取有效措施防止和控制傳染病暴發性流行;加強生活飲用水衛生知識宣傳工作,確保災區群眾飲水安全;及時向災區提供所需藥品和醫療器械。
縣應急局:負責縣防辦日常工作;組織編制全縣防汛抗旱應急預案,組織開展預案演練;按照分級負責原則,指導洪旱災害應急救援;組織指導較大及以上洪旱災害應急救援工作,并按權限作出決定;承擔縣應對較大及以上洪旱災害指揮部工作,協助縣委、縣政府指定負責同志組織洪旱災害應急處置工作;指導協調相關部門開展水旱災害防治工作;組織建立應急管理平臺,建立監測預警和災情報告制度,依法統一發布災情。
巫溪水文站:負責所屬河流站點的水雨情監測和洪水預報,及時向縣防汛抗旱指揮部及有關成員單位提供實時預測、預報信息,向有關鄉鎮(街道)提供其轄縣內所屬站點的實時預報信息。
縣人武部:負責組織民兵參加搶險救災;指導各鄉鎮(街道)武裝部組織民兵開展防汛抗旱搶險救援工作。
縣武警中隊:負責組織武警官兵參與水旱災害應急處置和搶險救災行動,并配合公安機關維護當地社會秩序;保護重要目標安全,解救、轉移和疏散受災人員;搶救、運送重要物資。
縣氣象局:對影響汛情旱情的中長期天氣形勢做出分析和預測;汛期及時對全縣及重點區域重要天氣形勢和災害性天氣做出及時預報及滾動監測預報;收集和核實氣象災害類別和等級;組織實施人工影響天氣作業,向縣防指及有關成員單位提供氣象信息,及時通報重要災害天氣信息。
縣消防救援大隊:負責發揮防汛抗旱應急救援主力軍作用,組織消防救援隊伍參加洪旱災害搶險救援,做好人員搜救、被困人員轉移等工作。
縣供電公司:負責防汛抗旱搶險救災和災后電力供應、電力安全工作,負責本系統的洪澇災害應急處置工作。
渝寧公司:負責所轄供水區域內防汛抗旱搶險救災和災后供水保障及水質安全工作。負責本單位的洪澇災害應急處置工作。
其他有關部門均應根據防汛抗旱搶險的需要積極提供有利條件,完成各自承擔的防汛抗旱搶險任務。
附件3
洪旱災害事件應對指揮機構架構圖


附件4
名詞術語解釋
1.特大洪水:洪峰流量或洪量的重現期大于50年一遇的洪水。
2.大洪水:洪峰流量或洪量的重現期20—50年一遇的洪水。
3.較大洪水:洪峰流量或洪量的重現期10—20年一遇的洪水。
4.一般洪水:洪峰流量或洪量的重現期5—10年一遇的洪水。
5.糧食因旱損失率。因旱對糧食作物造成的減產損失量,占正常年的糧食總產量的比例,以百分率(%)表示。
6.因旱飲水困難率。評估縣因旱飲水困難人口數量(評估縣評估年曾出現的因旱臨時飲水困難最高峰人口數量)占評估縣評估年總人口數量的比例,以百分率(%)表示。
7.重點鎮。只縣級重點示范鎮。
8.一般鎮。除重點鎮以外的城(鄉)鎮。
本預案有關數量的表述中,“以上”含本數,“以下”不含本數。
附件5
巫溪縣水系統

附件6
巫溪縣應急專家庫成員名單
|
序號 |
姓名 |
領域 |
編號 |
|
1 |
范洪川 |
應急救援 |
WXYJ5002380001 |
|
2 |
黃樹云 |
危險化學品——城鎮燃氣 |
WXYJ5002380002 |
|
3 |
陳 川 |
危險化學品——城鎮燃氣 |
WXYJ5002380003 |
|
4 |
張富照 |
危險化學品——液化石油氣 |
WXYJ5002380004 |
|
5 |
周極斌 |
電力 |
WXYJ5002380005 |
|
6 |
梁巨輝 |
危險化學品 |
WXYJ5002380006 |
|
7 |
張 慶 |
建筑施工 |
WXYJ5002380007 |
|
8 |
陳 瑛 |
建筑施工 |
WXYJ5002380008 |
|
9 |
彭成林 |
建筑施工 |
WXYJ5002380009 |
|
10 |
姚 榮 |
電力 |
WXYJ5002380010 |
|
11 |
付 毅 |
電力 |
WXYJ5002380011 |
|
12 |
鄭永忠 |
電力 |
WXYJ5002380012 |
|
13 |
胡懷元 |
電力 |
WXYJ5002380013 |
|
14 |
鄧友海 |
應急管理 |
WXYJ5002380014 |
|
15 |
程愛明 |
應急管理 |
WXYJ5002380015 |
|
16 |
鄧旭明 |
應急管理 |
WXYJ5002380016 |
|
17 |
楊趙平 |
應急管理 |
WXYJ5002380017 |
|
18 |
李井斌 |
應急管理 |
WXYJ5002380018 |
|
19 |
徐 雷 |
應急管理 |
WXYJ5002380019 |
|
20 |
唐思福 |
防汛抗旱 |
WXYJ5002380020 |
|
21 |
陳進初 |
防汛抗旱 |
WXYJ5002380021 |
|
22 |
龍少華 |
防汛抗旱 |
WXYJ5002380022 |
|
23 |
鐘菊花 |
森林防火 |
WXYJ5002380023 |
|
24 |
楊祖奎 |
林業 |
WXYJ5002380024 |
|
25 |
夏遠友 |
森林防火 |
WXYJ5002380025 |
|
26 |
向遠定 |
建設施工 |
WXYJ5002380026 |
|
27 |
鄒本東 |
房屋建筑和市政基礎設施質量安全 |
WXYJ5002380027 |
|
28 |
汪建軍 |
建筑施工 |
WXYJ5002380028 |
|
29 |
革 泉 |
建設施工 |
WXYJ5002380029 |
|
30 |
劉培昌 |
地質災害 |
WXYJ5002380030 |
|
31 |
劉遠升 |
地質災害 |
WXYJ5002380031 |
|
32 |
曾華寧 |
電力 |
WXYJ5002380032 |
|
33 |
余繩武 |
地質災害 |
WXYJ5002380033 |
|
34 |
李洪晏 |
婦 幼 |
WXYJ5002380034 |
|
35 |
李金劍 |
醫療 |
WXYJ5002380035 |
|
36 |
譚金軍 |
醫療 |
WXYJ5002380036 |
|
37 |
唐世宗 |
醫療 |
WXYJ5002380037 |
|
38 |
童柏楊 |
醫療 |
WXYJ5002380038 |
|
39 |
向 成 |
醫學救援 |
WXYJ5002380039 |
|
40 |
向國軍 |
精神科 |
WXYJ5002380040 |
|
41 |
朱 慶 |
醫學救援 |
WXYJ5002380041 |
|
42 |
鄒文斌 |
醫療 |
WXYJ5002380042 |
|
43 |
王 俊 |
非煤礦山 |
WXYJ5002380043 |
|
44 |
陳迪軍 |
非煤礦山 |
WXYJ5002380044 |
|
45 |
歐錫海 |
應急管理 |
WXYJ5002380045 |
|
46 |
李成強 |
危險化學品安全生產 |
WXYJ5002380046 |
|
47 |
高世雄 |
危險化學品安全生產 |
WXYJ5002380047 |
|
48 |
劉宗武 |
應急管理 |
WXYJ5002380048 |


